- 작성자 잔투가르XE7 2018-10-26 16:23:582018-10-26 16:23:58
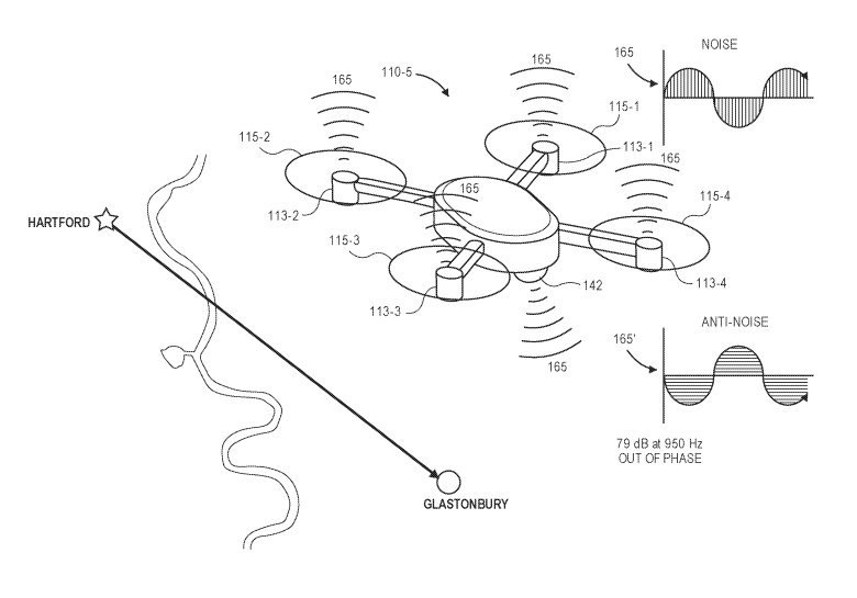
드론 노이즈 캔슬링... 딥러닝을 이용해서 다른 노이즈를 고의적으로 낼수 있게 해서
소음 감소 ㅎㄷㄷㄷ
추천 자료
- 제목
- 작성자
- 일자
- 413378
- 아마존의 신박한 드론 특허
- NEWIS
- 10/26
- 413356
- [사진] 서양의 진지한 할로원 코스튬
- NEWIS
- 10/26
- 413207
- 인터스텔라 삭제 장면
- NEWIS
- 10/26
- 413162
- 실사판 사이오닉 스톰.jpgif
- NEWIS
- 10/26
- 413154
- 오늘자 장도리
- NEWIS
- 10/26
- 412721
- 도서관에서 짜증나는 사람 쫓아내는 꿀팁...jpg
- NEWIS
- 10/26
- 412987
- 전세계 주요국 경제 상황 요약
- NEWIS
- 10/25
- 412840
- [사진] 서양의 진지한 할로윈 홈 데코
- NEWIS
- 10/25
- 412749
- 현재 사이판 모습이랍니다......jpg
- NEWIS
- 10/25
- 412502
- 주인이 이 계절만 되면 이상한 짓을 한다.jpg
- NEWIS
- 10/24

